Table of Contents
jaw crusher parts suppliers
World-Leading Jaw Crusher Parts for All Major Brands
As a globally recognized leader in the crushing industry, we specialize in supplying premium jaw crusher parts for equipment from all major manufacturers worldwide. Whether you operate Metso, Sandvik, Terex, Cedarapids, Mccloskey, or any other brand, we have the precise components you need to ensure optimal performance, reduce downtime, and extend the life of your machinery.
Extensive Range of Cast Jaw Crusher Components & Custom Fabrication
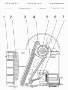
Our core expertise lies in manufacturing durable, high-wear parts through advanced casting and fabrication processes. We produce a comprehensive range of jaw crusher components, including:
Jaw Plates / Cheek Plates
Toggle Plates & Seats
Wedges
Pitmans / Eccentric Shafts
Bearings & Bushings
Flywheels & Guards
Furthermore, we excel in custom jaw crusher parts manufacturing. We can fabricate parts according to your specific requirements or produce components directly from your drawings and specifications, ensuring a perfect fit and function for unique or obsolete models.

Unmatched Service & Support – Your Reliable Partner
We are more than just a supplier; we are your strategic partner in maintenance and operations. Our service commitment includes expert technical support to help you select the right parts, reliable global logistics to get them to you fast, and a quality guarantee on all our products. Our goal is to provide solutions that maximize your crusher’s productivity and your return on investment.

Request for Quotation (RFQ) – Get Your Custom Quote Today!
Ready to secure the highest quality jaw crusher parts? Contact us now for a competitive quote. Please provide the following details for a faster and more accurate response:
Crusher Brand & Model Number: (e.g., Metso C106, Sandvik QJ341)
Part Name & Drawing Number: (If available, especially for custom parts)
Material Preference: (e.g., Manganese Steel – Mn14, Mn18, Mn22)
Quantity Required:
Target Delivery Timeline:
Contact Information: (Name, Company, Email, Phone)
Submit your RFQ today and experience the difference of working with a global leader.